


【产品型号】HY8315.4
【产品材质】铝合金
【表面处理】黑色、银色或橘色/氧化/抛光
【产品品牌】华洋
【产品产地】浙江宁波
【生产厂家】象山华洋机床附件厂
【询价热线】86-574-65010069
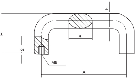
结构图

参数尺寸
| 产品编号 | 主要尺寸(mm) | |||
| 铝合金 | A | H | h | B |
| HY8315.4\A=114 | 114 | 51 | 13 | 20 |
| HY8315.4\A=152 | 152 | 51 | 13 | 20 |
| HY8315.4\A=203 | 203 | 51 | 13 | 20 |
| HY8315.4\A=114w | 114 | 55 | 17 | 26 |
| HY8315.4\A=152w | 152 | 55 | 17 | 26 |
| HY8315.4\A=150~2500w | ※150~2500 | 50~100 | 17 | 26 |
技术信息
| 名称 | 材料 | 表面处理 |
| 拉手 | 铝合金 | 黑色、银色或橘色/氧化/抛光 |
抱歉,该型号暂无3D模型!